威风堂

 找回密码
 现在注册
查看: 42607|回复: 0

车撑将会成为充电线?! 宝马积极开发电动摩托车充电方案

[复制链接]
发表于 2020-1-7 13:58 | 显示全部楼层 |阅读模式
qw1.jpg

随着新能源的崛起,无论是汽车还是摩托车都已经注定是未来的大趋势,虽然国内的电动摩托车还未普及,但是众多的普通电动两轮车已经有非常庞大的用户群体,看到商机的各个厂家已经开始针对中大型电动摩托车型开发全新的电动产品,其中宝马的C Evolution是非常具有代表性的,不过车辆充电一直都是中大型电动摩托车的一个难题,现在宝马想要通过新的方式来解决这个烦恼。

qw2.jpg

无论是电动汽车还是电动摩托车都要通过不断的充电来保证车辆的正常行驶,以目前的技术来看有线的充电速度相比无线充电要更加快速,这方面在汽车领域还有快速充电系统,能够让车主的等待时间大大缩短,虽然电动摩托车也有快速充电装置,但相比汽车充电效果还有很大的提升空间。

qw3.jpg

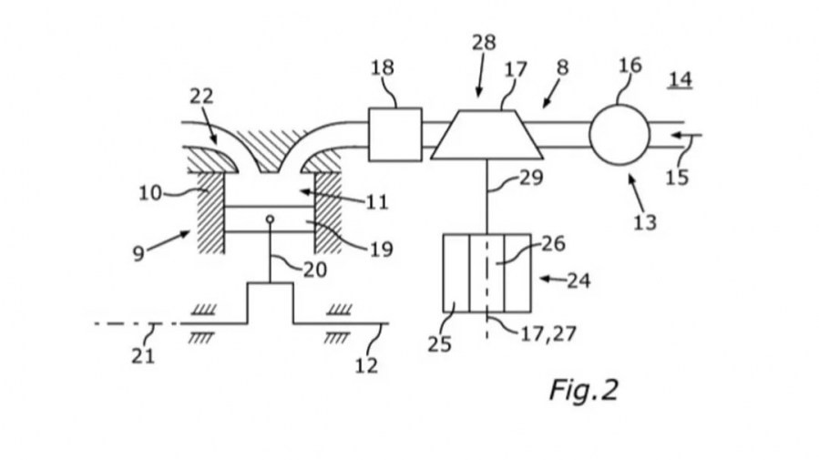
在电动摩托车充电领域,宝马一直都在积极开发研究更为便捷的充电方式,他们希望可以通过大型的充电板安装在停车位下方,车辆停入车位后能够自行充电,但是基于充电速度缓慢,始终没有投放市场使用,因此他们开发了另一种充电方式,就是宝马最新专利当中的车撑充电系统。

qw4.jpg

几乎大部分摩托车都会有车辆侧撑和大撑,方便驻车使用,如果通过这一点与地面上的连接点结合,直接可以进行充电的话,不仅不会有杂乱的充电线,停车也可以更加整齐。

qw5.jpg

qw6.jpg

虽然目前这项专利还在初始阶段,但基本概念已经形成,接下来宝马会不会将其实现还不能确定,但有新的想法总是好的,未来新能源的趋势已经不可避免,那么只有研究出更便捷的周边产品,才能捕获更多的消费群体。

qw7.jpg

回复

使用道具 举报

您需要登录后才可以回帖 登录 | 现在注册

本版积分规则

QQ|手机版|小黑屋|威风堂机车网-论坛 ( 京ICP备17057880-1号-京公网安备11010502026042 )联系:13701124377

GMT+8, 2025-12-29 19:08 , Processed in 0.103083 second(s), 20 queries .

Powered by Discuz! X3.5

© 2001-2025 Discuz! Team.

快速回复 返回顶部 返回列表